主题 : 工作流设置
级别: 论坛管理员
UID: 122721
积分:57884 加为好友
威望: 2 精华: 1
主题:5 回复:50085
注册时间:2018-05-07
在线时长:0
61#   发表于:2019-06-06 10:56:10  IP:182.12.*.*
回复第60楼
每天告诉自己一次,“我真的很不错”。
级别: 会元
UID: 125931
积分:1433 加为好友
威望: 28 精华: 0
主题:60 回复:873
注册时间:2018-09-26
在线时长:0
62#   发表于:2019-06-06 10:57:32  IP:106.143.*.*
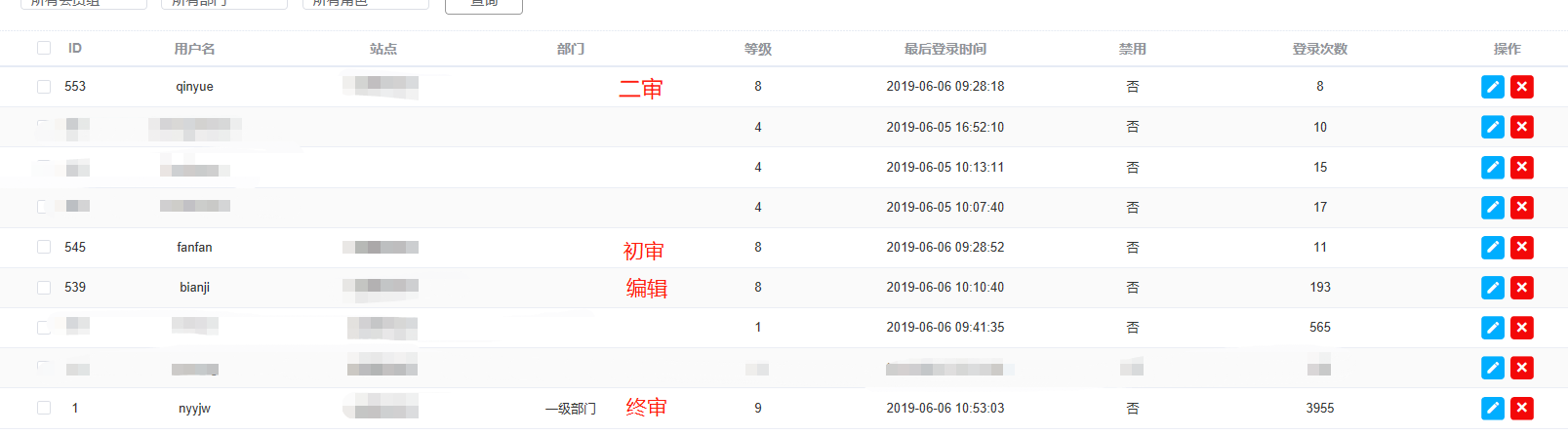
发布 审核1 审核2 审核3 这四个用户的等级都是1吗?
级别: 论坛管理员
UID: 122721
积分:57884 加为好友
威望: 2 精华: 1
主题:5 回复:50085
注册时间:2018-05-07
在线时长:0
63#   发表于:2019-06-06 10:59:16  IP:182.12.*.*
是的   都是1的
每天告诉自己一次,“我真的很不错”。
级别: 会元
UID: 125931
积分:1433 加为好友
威望: 28 精华: 0
主题:60 回复:873
注册时间:2018-09-26
在线时长:0
64#   发表于:2019-06-06 11:00:18  IP:106.143.*.*
我的是 编辑 初审 二审 这三个角色等级是8 终审角色等级9
级别: 会元
UID: 125931
积分:1433 加为好友
威望: 28 精华: 0
主题:60 回复:873
注册时间:2018-09-26
在线时长:0
65#   发表于:2019-06-06 11:01:06  IP:106.143.*.*
 
级别: 论坛管理员
UID: 122721
积分:57884 加为好友
威望: 2 精华: 1
主题:5 回复:50085
注册时间:2018-05-07
在线时长:0
66#   发表于:2019-06-06 11:04:16  IP:182.12.*.*
要不您按我的配置在配置下吧   我这边测试确实没有问题
每天告诉自己一次,“我真的很不错”。
级别: 会元
UID: 125931
积分:1433 加为好友
威望: 28 精华: 0
主题:60 回复:873
注册时间:2018-09-26
在线时长:0
67#   发表于:2019-06-06 11:04:31  IP:106.143.*.*
可是咱两一样的啊
级别: 会元
UID: 125931
积分:1433 加为好友
威望: 28 精华: 0
主题:60 回复:873
注册时间:2018-09-26
在线时长:0
68#   发表于:2019-06-06 11:04:45  IP:106.143.*.*
级别: 会元
UID: 125931
积分:1433 加为好友
威望: 28 精华: 0
主题:60 回复:873
注册时间:2018-09-26
在线时长:0
69#   发表于:2019-06-06 11:04:59  IP:106.143.*.*
只不过等级大小不一样
级别: 论坛管理员
UID: 122721
积分:57884 加为好友
威望: 2 精华: 1
主题:5 回复:50085
注册时间:2018-05-07
在线时长:0
70#   发表于:2019-06-06 11:07:05  IP:182.12.*.*
您试下吧等级都改为1看下
每天告诉自己一次,“我真的很不错”。
|< < 2 3 4 5 6 7 8 9 10 11 > >| 共12页