主题 : jeecms的日志
级别: 举人
UID: 138951
积分:158 加为好友
威望: 0 精华: 0
主题:21 回复:29
注册时间:2021-09-09
在线时长:0
1#   发表于:2021-11-03 17:06:50  IP:112.173.*.*
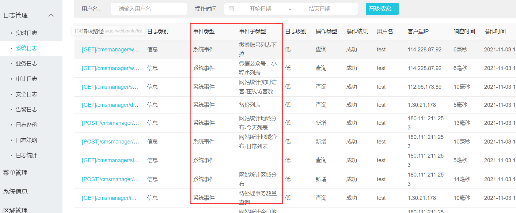
日志中的事件子类型从哪里来的,这些中文,我看我的数据库log表,这个字段全是null
级别: 总版主
UID: 10736
积分:149787 加为好友
威望: 212 精华: 42
主题:297 回复:127674
注册时间:2010-09-08
在线时长:90.1
2#   发表于:2021-11-03 17:41:09  IP:111.202.*.*
子事件值不存在这表里
路漫漫其修远兮,吾将上下而求索!
级别: 举人
UID: 138951
积分:158 加为好友
威望: 0 精华: 0
主题:21 回复:29
注册时间:2021-09-09
在线时长:0
3#   发表于:2021-11-03 17:50:56  IP:112.173.*.*
回复第2楼
那怎么得到的,我应该怎么样才会有
级别: 总版主
UID: 10736
积分:149787 加为好友
威望: 212 精华: 42
主题:297 回复:127674
注册时间:2010-09-08
在线时长:90.1
4#   发表于:2021-11-04 09:10:43  IP:111.202.*.*
回复第2楼
那怎么得到的,我应该怎么样才会有
  jc_sys_api 这个表
路漫漫其修远兮,吾将上下而求索!
1 共1页