主题 : 发布的文章列表,只能显示今天之前的
级别: 举人
UID: 131221
积分:142 加为好友
威望: 0 精华: 0
主题:8 回复:52
注册时间:2019-08-21
在线时长:0
1#   发表于:2019-08-22 17:39:29  IP:111.101.*.*
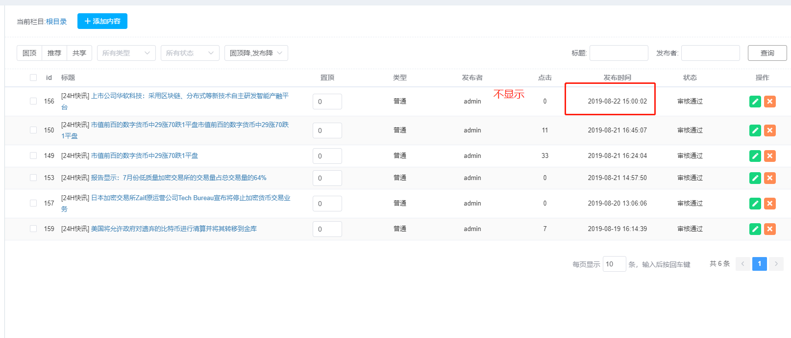
发布的文章列表,只能显示今天之前的,发布时间为当天的,不显示,之后的也不显示

级别: 论坛管理员
UID: 122721
积分:57884 加为好友
威望: 2 精华: 1
主题:5 回复:50085
注册时间:2018-05-07
在线时长:0
2#   发表于:2019-08-22 17:42:34  IP:117.131.*.*
您看下您那边的栏目有没有使用排序
每天告诉自己一次,“我真的很不错”。
级别: 举人
UID: 131221
积分:142 加为好友
威望: 0 精华: 0
主题:8 回复:52
注册时间:2019-08-21
在线时长:0
3#   发表于:2019-08-22 17:49:38  IP:111.101.*.*
时间排序吗?
级别: 版主
UID: 121385
积分:34048 加为好友
威望: 0 精华: 0
主题:0 回复:32073
注册时间:2018-03-20
在线时长:0
4#   发表于:2019-08-22 17:55:24  IP:117.131.*.*
是的   看下是不是有时间排序吧他排掉了
世间没有一种具有真正价值的东西,可以不经过艰苦辛勤劳动而能够得到的。
级别: 举人
UID: 131221
积分:142 加为好友
威望: 0 精华: 0
主题:8 回复:52
注册时间:2019-08-21
在线时长:0
5#   发表于:2019-08-22 18:06:05  IP:111.101.*.*
从哪里看啊,没找到有关于排序的
级别: 举人
UID: 131221
积分:142 加为好友
威望: 0 精华: 0
主题:8 回复:52
注册时间:2019-08-21
在线时长:0
6#   发表于:2019-08-22 18:07:42  IP:111.101.*.*
是栏目,还是内容管理,具体哪个字段?
级别: 论坛管理员
UID: 122721
积分:57884 加为好友
威望: 2 精华: 1
主题:5 回复:50085
注册时间:2018-05-07
在线时长:0
7#   发表于:2019-08-22 18:11:21  IP:117.131.*.*
看下模板内的排序字段
每天告诉自己一次,“我真的很不错”。
级别: 举人
UID: 131221
积分:142 加为好友
威望: 0 精华: 0
主题:8 回复:52
注册时间:2019-08-21
在线时长:0
8#   发表于:2019-08-22 19:10:28  IP:111.101.*.*
能截个图吗?
级别: 论坛管理员
UID: 122721
积分:57884 加为好友
威望: 2 精华: 1
主题:5 回复:50085
注册时间:2018-05-07
在线时长:0
9#   发表于:2019-08-23 08:38:33  IP:117.131.*.*
回复第8楼
你看下这个
每天告诉自己一次,“我真的很不错”。
级别: 举人
UID: 131221
积分:142 加为好友
威望: 0 精华: 0
主题:8 回复:52
注册时间:2019-08-21
在线时长:0
10#   发表于:2019-08-23 11:15:01  IP:111.101.*.*
有这个字段,我设置的就是4,orderBy='4',设置什么不会排掉?
1 2 3 4 > >| 共4页